- 90 Actual Exam Questions
- Compatible with all Devices
- Printable Format
- No Download Limits
- 90 Days Free Updates
Get All OMG-Certified Expert in BPM 2 - Fundamental Exam Questions with Validated Answers
| Vendor: | OMG |
|---|---|
| Exam Code: | OMG-OCEB2-FUND100 |
| Exam Name: | OMG-Certified Expert in BPM 2 - Fundamental |
| Exam Questions: | 90 |
| Last Updated: | April 8, 2026 |
| Related Certifications: | BPM Certifications |
| Exam Tags: | Foundational level Business Process Modelers and Process Designers |
Looking for a hassle-free way to pass the OMG-Certified Expert in BPM 2 - Fundamental exam? DumpsProvider provides the most reliable Dumps Questions and Answers, designed by OMG certified experts to help you succeed in record time. Available in both PDF and Online Practice Test formats, our study materials cover every major exam topic, making it possible for you to pass potentially within just one day!
DumpsProvider is a leading provider of high-quality exam dumps, trusted by professionals worldwide. Our OMG-OCEB2-FUND100 exam questions give you the knowledge and confidence needed to succeed on the first attempt.
Train with our OMG-OCEB2-FUND100 exam practice tests, which simulate the actual exam environment. This real-test experience helps you get familiar with the format and timing of the exam, ensuring you're 100% prepared for exam day.
Your success is our commitment! That's why DumpsProvider offers a 100% money-back guarantee. If you don’t pass the OMG-OCEB2-FUND100 exam, we’ll refund your payment within 24 hours no questions asked.
Don’t waste time with unreliable exam prep resources. Get started with DumpsProvider’s OMG-OCEB2-FUND100 exam dumps today and achieve your certification effortlessly!
Choose the correct answer:
What is the function of a worklist handler in a BPMS?
Choose the correct answer:
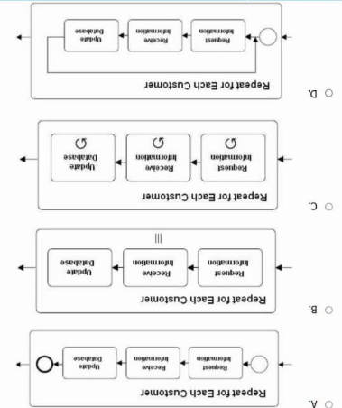
Which diagram models this situation: For each customer of the company, execute the activities "Request Information", "Receive Information", and "Update Database" in this order?

Choose the correct answer:
What does a notation with clear semantics provide for a model?
Choose the correct answer:
The chief economist of an airline projects increasing costs for jet fuel and believes those costs will hurt the airline's business.
This belief is modeled as which BMM noun concept?
Security & Privacy
Satisfied Customers
Committed Service
Money Back Guranteed